树莓派学习
作者:苏月晟
该文档部分引用自网络,引用部分已经注明
0基础实现树莓派云灌溉系统
树莓派云灌溉系统的实现
目录
树莓派相关配置
- 树莓派简介
- 树莓派安装系统并网络连接
- 树莓派摄像头的启用
- 树莓派相关传感器的使用
- 树莓派控制传感器的代码
- 树莓派端的内网穿透
- scp corntab nohup 介绍
- scp 是负责传文件的命令
- crontab是负责控制传文件时间的命令
- nohup 是负责后台运行的命令
- 这三个命令可以通过网络来学习
- scp is the command to transfer files
#### crontab is the command responsible for controlling the time of the file transfer
#### nohup is the command that is responsible for running in the background
#### These three commands can be learned through the network
- shell 脚本
- 此脚本目的是定时将数据上传到服务器
- 在运行此脚本前应解决scp无密码传输的问题
- 后台运行的命令为 nohup sh /home/pi/tran/a.sh » /home/pi/tran/d.txt 2>&1 &
- The purpose of this script is to periodically upload data to the server.
- [Scp should be resolved without password transfer before running this script] (https://blog.csdn.net/u012454773/article/details/72779439)
- The command to run in the background is nohup sh /home/pi/tran/a.sh » /home/pi/tran/d.txt 2>&1 &
云服务器相关配置
- 服务器购买及选择
- 服务器我购买的是阿里云的轻量级服务器,现在可以使用学生优惠
- 服务器需要搭一个网站的框架,推荐用flask 我用的是宝塔
- 使用宝塔只需要看官方教程就够了
Server I purchased Alibaba Cloud’s lightweight server, now I can use student discounts
The server needs to build a website framework, recommend using flask. I use a pagoda.
It is enough to use the pagoda only to see the official tutorial.
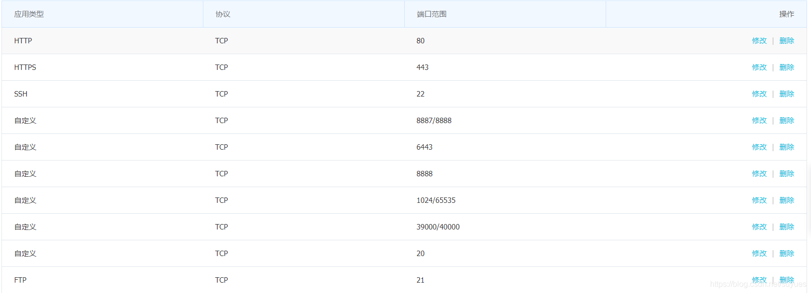
- 端口的开关
- 需要开一些端口
- 我开的是这些端口

- 网站配置
- 宝塔页面上配置上数据库,ftp,网站。其实刚开始设置宝塔的时候会有提示,按照提示设置lnmp就好了
Configure the database, ftp, website on the Pagoda page. In fact, when you first set up the pagoda, there will be a prompt, follow the prompts to set lnmp just fine
- frp 配置树莓派公网ip
- 前端网页代码
- 接受树莓派传来的文件
- 发送文件
- 设置域名
- 域名可以从阿里云,腾讯云等购买
- 在域名服务商那里可以设置解析,TTL建议3600,实验发现,600s的经常性304
- 然后从宝塔面板绑定域名
- 这样就可以通过域名访问了
- 我在这个项目中的域名是www.qkgoride.club截至2019/8/3 17:23此域名仍无法访问,原因是刚刚修改过相关内容,需要3600s后才可正常访问
2019/8/7 更新
- 我的网站目前在备案,所以无法通过域名访问,可以访问106.14.162.154